roughworks

UCEED 2026

0/57
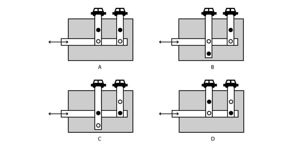
UCEED2026HardmcqProduct Designlinkage mechanismmechanical reasoningpivotcardboard toyspatial reasoning
mcqQ51

A toy is made with cardboard and rivets. As shown below, the two car cut-outs are attached on top of the parallel cardboard strips which should move when the child pushes or pulls the horizontal cardboard strip. Different linkage mechanisms are made with cardboard strips (rectangles) and connector pivots (circles). Black circles are fixed pivots (attached to the grey base) and white circles are moving pivots (not attached to the grey base). Which option will show a collision between the two cars?

Question diagram